External Airbags Could Soon Be Here To Soften The Blow For Pedestrians

From autonomous emergency braking to simple dashboard warnings, manufacturers have put a lot of effort into preventing accidents involving pedestrians over the last few years. But since it’s impossible to avoid every potential contact, it seems some firms want to look at measures to reduce injuries should the worst happen.
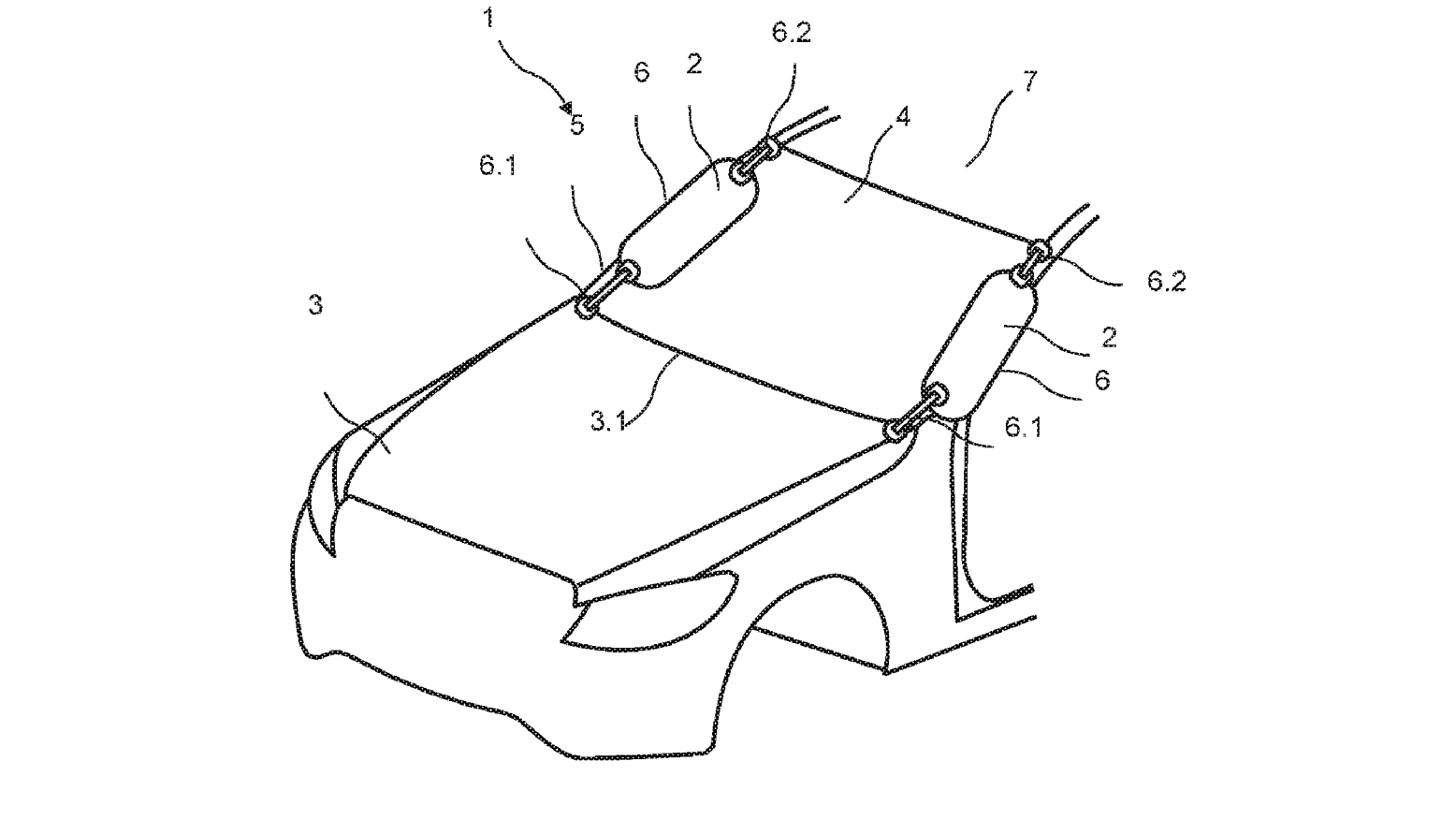
A few years ago Volvo was looking at the idea of an external airbag, and now it seems Mercedes is doing the same. In a patent first filed to the US Patent Office in 2015 and published this month, the company is proposing a system which would have airbags installed in the A-pillars.
They’d work together with a bonnet deployment system, and be discretely hidden under panels until the crucial moment. Each airbag would inflate “across a region of a windscreen pillar and a region of the windscreen adjacent to this,” considerably softening the impact for the unfortunate pedestrian.
External airbags could go further than protecting pedestrians, too. Last year we learned that ZF TRW was working on a side-mounted external airbag intended to reduce the impact forces of side-on crashes by anything up to 30 per cent.















Comments
Am I the only one who thinks overly safe cars are kinda lame?
But how will the system determine when to activate those airbags? Regular airbags open at the moment of impact, but for a pedastrian that would be a bit too late I reckon. And you don’t want them to pop whilst having a near-colision…
Doesn’t the citroen cactus already have external air bags?
Because A-pillars weren’t big enough already….
So…
Volvo’s old April Fools joke is going to be real?
Airbags at front probably to lessen the damage the pedestrians #sorrynotsorry
Is this so the drug lords can still get their money after chasing down one of their “delinquent payers”?
Sigh, anoth rler soon to be mandated item that will only drive up costs
Hopefully they put these on mustangs (ba dum tis)
They’ve learned from the greatest.
Pagination