A New Ferrari V12 Could Use Oval Pistons

Something is clearly running through the water at Maranello. Last year, Ferrari filed a patent for an upside-down supercharged hydrogen straight-six engine. Not content with that being the only outlandish idea of the last 12 months, it’s now filed another for a V12 using oval pistons.
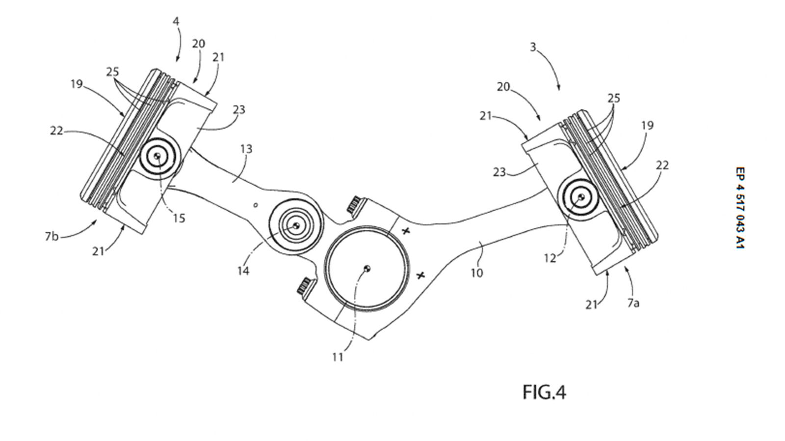
As spotted by AutoGuide, the new patents filed with the European Patent Office reveal a concept for a V12 with pill-like pistons as opposed to the circular ones used by… pretty much every internal combustion engine in existence bar rotaries. And that time Honda tried using oval pistons in motorcycle racing with its NR500.
What’s the benefit, then, given the idea has only really once been tried in the history of the internal combustion engine? Well, space, mostly.

In the words of Ferrari, that’s: “As pistons have a cylindrical shape, the driving engines for vehicles of known type… have some drawbacks, mainly deriving from the fact that the group of cylinders and of relative pistons has a relatively high longitudinal footprint, measured parallel to the rotation axis of the crankshaft.”
Which is a convoluted ‘circular pistons take up more space’. Using oval pistons would, in theory, reduce the footprint of an engine allowing it to be more compact. That means a smaller engine without sacrificing power, and allowing for better distribution of weight. Win-win.
Any downsides? It’d surely be expensive to make – then again, it’s Ferrari we’re talking about rather than say Dacia, so that’s maybe not an issue. There’s also the fact it hasn’t been done on a large scale before, so reliability would be a bit of an unknown.

That’s not the only interesting element of this patent, though. It also sees opposing pistons connected by a singular conrod rather than individual components. Again, this would reduce space – though it opens up questions about balancing.
None of this could be worth thinking about in the end, as Ferrari could simply do absolutely nothing with the idea. Regardless, it’s good to see engine innovation still being explored and especially so for a V12.















Comments